Synchronous generators remain a cornerstone of modern power generation by playing a crucial role in supplying electricity to homes, industries, and cities worldwide. Synchronous generator works when DC current is applied to the rotor’s winding. The rotor of the generator is then turned by a prime mover, producing a rotating magnetic field within the machine which then induces three phase voltage in the stator windings of the generator. The generator's rotor spins at a steady pace and constant speed matching the frequency of the AC power it produces.

Synchronous generators are crucial in modern power systems due to their ability to operate under varying load conditions without a meaningful change in their operating frequency. Their importance lies in:
Let us imagine constant water flowing from a faucet. This is the base load power which is maintained to keep up the most essential services operating 24/7: hospitals, factories, homes, and so on. Synchronous generators are like reliable water pumps that can maintain this steady flow. Thus, designed to continue operation in full swing at an unceasing rate to supply steady current ensuring that there's always enough power to meet the basic needs of consumers, even during peak demand periods.
Like a spinning flywheel, synchronous generators have high inertia. They can resist sudden changes in their rotational speed and thus stabilize the grid frequency during disturbances such as sudden load changes or faults. By adjusting their output power rapidly, they can dampen these oscillations, prevent cascading failures, and thus provide a reliable power supply.
Synchronous generators are traffic controllers on the grid. They can regulate the voltage to keep it at a safe and efficient level. In addition, they can also regulate the reactive power, which is like the smoothness of the road surface which can improve the quality of the power being delivered, ensuring that electrical equipment operates efficiently and reliably.
Given the critical role of synchronous generators in modern power systems, it is imperative to ensure their reliable and fault-free operation. We can also maintain grid reliability by parallel operation of the generators. Parallel generators can increase grid stability and reliability by providing redundancy, flexibility, and ease of maintenance.
If you want to know more about the parallel operations of generator, check out the blog Top 5 Advantages of Parallel Operation of Generators or Alternators
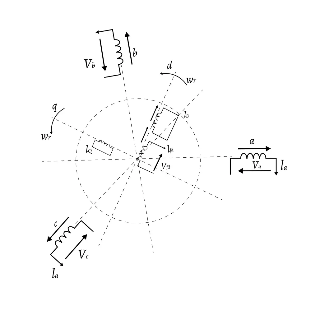
To understand the behavior of synchronous generator, we need to know its parameters that influence the power system analysis and studies under various operating conditions, including normal operation, disturbances, and faults.
An alternator's design inherently determines its dynamic response to load changes. This response is characterized by different reactances, each influencing the alternator's behavior at specific times. These reactances are categorized into three types:

The sub-transient reactance of the alternator primarily results in the response to sudden load changes within the initial instants. This attribute causes it to react sharply, especially when a short circuit fault is encountered. If the sub-transient reactance is 12%, the peak values will be some eight times the rated current and this is described as being the symmetrical condition, with the asymmetrical - absolute maximum - being twice the symmetrical value.
Factors affecting sub-transient reactance:
The rotor and stator poles' shape and size influence the magnetic flux paths in the machine. These variations, in return, affect the machine's reactances. A smaller air gap between the rotor and stator reduces leakage flux, leading to lower sub-transient and transient reactances.
The number of turns and winding pitch in a generator's winding configuration impact inductance of machine.
The initial reactance during a fault is primarily affected by the damper windings. It decays rapidly as the damper winding currents decay.
Operating Conditions:
As the magnetic core becomes more saturated, the effective reactance, particularly sub-transient reactance, decreases. Additionally, the load current and power factor can influence the effective reactance, especially in salient pole machines. This is due to the non-linear magnetic characteristics of the machine's core.

The SG is described by a set of three stator circuits coupled through motion with two (or a multiple of two) orthogonally placed (d and q) damper windings and a field winding (along axis d: of largest magnetic permeance)
During initial conditions, the reaction of an alternator towards short-circuit condition is primarily due to X"d. However, as the time progresses impact by transient reactance X’d, and the associated time constants get included in its operation. The high initial current, caused by X"d decreases over time with the rate of decay which depends upon the value of X"d as well as specific values of the time constants in alternator.
Modern alternators, equipped with advanced control systems will typically sustain 2 to 4 times the rated current under a steady state three phase short circuit condition. This capability renders the use of the synchronous reactance (Xd) inadequate for determining third-period fault current levels. However, Xd remains a valuable parameter for assessing an alternator's overall capacity. It is determined by the ratio of excitation levels measured during SCC and OCC.
The inertia constant (H) of a synchronous generator is an important parameter in power system analysis to maintain stability during disturbances. A higher H value indicates a greater rotational kinetic energy stored in the generator's rotor, which enables it to withstand disturbances without significant frequency deviations. On the contrary, if the inertia is insufficient, the stability of the system will be affected and even lead to the collapse of the system.
A higher damping coefficient provides stronger damping forces, which effectively reduce the amplitude and frequency of oscillations that may arise due to disturbances like load changes or faults. The findings indicate that damping plays a more crucial role in ensuring stability than inertia alone, especially when responding to small disturbances.
A long field time constant can exacerbate hunting in synchronous generators. This parameter determines how quickly the generator's field winding responds to changes in excitation voltage. The longer the time constant, the slower the field response, which can amplify the hunting effect. During a disturbance, the rotor of the generator may swing away from its synchronous position. A slow-responding field winding will not provide the corrective torque in a timely manner and will, therefore, produce more oscillations. It may then cause instability in the generator, which can eventually lead to losing synchronism with the power system.
To decrease the voltage regulation rate of the starter generator, several strategies can be employed. These include power factor adjustment, reducing armature winding resistance and reducing armature reaction direct-axis reactance. The armature resistance of a synchronous generator has a significant impact on its performance and power system analysis. Although small as compared to the synchronous reactance, it is a vital component in determining the voltage drop across the armature winding of the generator. A higher armature resistance results in a greater voltage drop, leading to reduced terminal voltage and, hence, affecting the generator's ability to maintain voltage stability. It is a source of power loss in the machine, which reduces overall efficiency. In power system analysis, the modeling of armature resistance is critical for accurate voltage drop calculations, power flow, and stability studies.
When a fault occurs in a power system, connected electrical components, including generators, contribute to the fault current. Short circuit analysis helps to determine the capability of a generator to withstand faults and provides useful data for the sizing of protective devices and system design. This information helps in making sure that the system is stable against disturbances, minimizing the effects of faults, and ensuring overall stability. To calculate the generator contribution towards a fault point, we need some parameters which can be found in the generator technical datasheet.
To calculate the short circuit current contributed by a generator, we primarily need two key parameters:
Rated Current or Full Load Amps (FLA): This is the maximum current a generator can deliver continuously.
Sub-transient Reactance (X"d): This is a measure of the generator's opposition to sudden changes in current.
\[ \text{Short Circuit Current } (I_{sc}) = \frac{\text{FLA}}{X^{''d}} \]
When the value of rated current is not known, we can calculate it using apparent power or KVA rating of the synchronous generator.
\[ FLA = \frac{\text{Apparent Power (KVA)}}{\sqrt{3} \times \text{Rated Voltage}} \]
\[ \text{Short Circuit Current } (I_{sc}) = \frac{\text{FLA}}{X^{''d}} \]
It may happen in some conditions, that the values of both rated current and apparent power are not known, however we can determine it by using real power (kW) and power factor.
Just simply apply the formula of power factor and then follow up Case 2 and Case 1 respectively:
\[ \text{Apparent Power} = \frac{\text{Real Power}}{\text{Power Factor}} \]
\[ FLA = \frac{\text{Apparent Power (KVA)}}{\sqrt{3} \times \text{Rated Voltage}} \]
\[ \text{Short Circuit Current } (I_{sc}) = \frac{\text{FLA}}{X^{''d}} \]
Typically, sub-transient reactance ranges from 9% to 18%. Higher values are challenging to achieve and result in lower short circuit currents. Before beginning calculations, it is important to confirm the exact sub-transient reactance value with the generator manufacturer.
The protection schemes must be employed to safeguard synchronous generator from various faults and abnormal conditions, such as electrical faults, mechanical failures, and operational issues. To classify the severity of faults and determine the appropriate isolation strategy, we need to understand various tripping classes. Class A is for severe faults requiring immediate isolation, Class B for mechanical faults, and Class C for grid-side faults where the generator can continue to supply local loads.
Stator protection involves different techniques intended to protect the stator windings from various faults. Differential protection compares currents entering and leaving the winding to find differences which indicates the internal fault. High impedance earth fault protection monitors for earth faults. Zero sequence voltage/current detection detects earth faults, particularly those closer to the neutral point. Inter-turn fault protection targets faults that occur between turns within a phase winding and are rarely detectable through conventional differential protection.
Field Circuit Protection detects unbalanced operations in the field winding. Over Flux Protection monitors the ratio of induced voltage to frequency to detect over-excitation.
It ensures proper isolation of faults without unnecessary tripping of healthy equipment through a coordinated operation of protective relays in a sequence.
Determines the appropriate action for tripping based on fault type and its severity.
These are specialized devices designed to detect and respond to faults. Some of the popular models include ABB REG670, ALSTOM P34X, and SIEMENS 7UM6XX.
To learn more about Generator faults and protection, you may visit our blog Generator Protection
Maintaining stable operation of synchronous generators is an important requirement for a power grid to be reliable. One of the biggest issues is to keep the synchronous generators in a state of synchronization, which is to say, at the same speed of rotation and having a consistent phase relationship.
Synchronization is essential to avoid cascading failures and blackouts. Steady-state stability under increasing loads is another important requirement. When load increases, the generators should sustain stable operation without losing synchronism. The main issue here is transient stability, since it is always vulnerable to larger disturbances in the system caused by faults or sudden load changes. Engineers take measures to face these issues by using multiple strategies. Robust construction of rotors and stators of the generators is necessary, and employing advanced control systems, for example automatic voltage regulators, and excitation systems helps maintain the stable output voltage and reactive power.
Engineers at AllumiaX are experts in performing several types of engineering studies involving generators to ensure safe and reliable operation of a power system. Need expert guidance on generator safety, reliability, and protection? Contact AllumiaX today. Our team of engineers and technicians will provide the solutions you need.
Stay Sharp & Join our Mailing List!
Subscribe to Allumiax Blog for updates on power system studies, tips, guides and insights on electrical engineering from industry leaders.